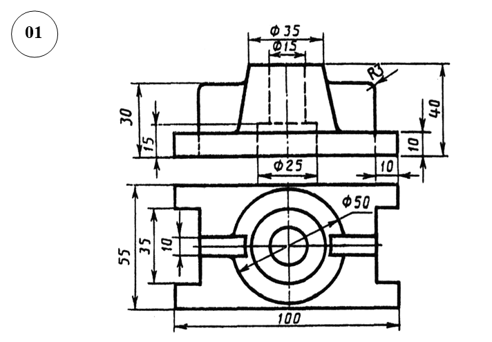
Разрез простой PDF

Готовый чертеж по заданию:

  1. Построить недостающую проекцию детали

  2. Выполнить необходимые разрезы

  3. Проставить размеры

  4. Вычертить изометрию детали с вырезом передней четверти

Чертеж в формате PDF (на одном, либо двух листах)

100
Добавить в корзину
Ваш заказ
  • image alt
    POWER Full 14
    POWER Full 14
    1000
  • image alt
    POWER Full 14
    POWER Full 14
    2000
3000
Оставляя заявку, вы соглашаетесь на обработку персональных данных
2